蘋果的下一代智能穿戴設備的技術創新不僅受到消費者的期待,也一直備受同行關注。最近, 有專利公布顯示蘋果頭戴式AR設備將通過空氣導流板來引導熱量離開佩戴者頭部,實現頭戴式AR設備的自動散熱,這一技術有望加速下一代智能穿戴設備的場景普及。
蘋果的下一代智能穿戴設備的技術創新不僅受到消費者的期待,也一直備受同行關注。最近, 有專利公布顯示蘋果頭戴式AR設備將通過空氣導流板來引導熱量離開佩戴者頭部,實現頭戴式AR設備的自動散熱,這一技術有望加速下一代智能穿戴設備的場景普及。

未來的蘋果Glass或其他蘋果AR頭顯可能會使用空氣導流板來引導熱量離開佩戴者的頭部。此前,發明家PhilM.Hobson和SiveshSelvakumar獲得了一項專利,用于使蘋果AR頭戴式顯示器(HMD)佩戴者長時間保持舒適。現在,他們和另外三位發明家已經提交了一份專利申請,在設備中加入冷卻系統。
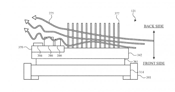
頭戴式設備中冷卻系統的空氣導流板"是一項新披露的蘋果專利申請,它關注的是用戶可以舒適地長時間佩戴這種設備。蘋果在專利當中表示,頭戴式設備是一種有吸引力的技術,可以提供一種身臨其境的用戶體驗。與其他電子設備一樣,頭戴式設備可以采用基于空氣循環的冷卻系統,以保持電子元件處于理想的工作溫度。
蘋果表示,冷卻系統也可用于冷卻用戶的臉部,以避免頭戴式設備內部的熱量積聚。不過,這似乎是說起來容易做起來難,蘋果認為,管理有效的操作而又不過度影響用戶體驗是頭戴式設備的一項挑戰性任務,因為頭戴式設備的形狀或內部組件的布局可能導致冷卻系統的流動路徑曲折,氣流路徑接近用戶的頭部,可能會產生不利于用戶體驗的不良影響,例如過度的噪音,以明顯的方式干擾設備的音頻。

蘋果公司提議的做法是借鑒計算機中的熱冷卻做法,并加入通常在空調系統中發現的空氣導流器。空氣導流器可以設置在內部組件的表面和進入的氣流之間,相對于內部組件的表面,角度減小,以便在該組件上創造平滑的或更多的層流,另外可以包括一個集成散熱器,或通過導熱界面材料 散熱。這并不是說蘋果Glass或其他蘋果頭顯不會有風扇,但計劃是將加熱的空氣盡可能不顯眼地遠離用戶。
標簽: 點擊: 評論: